突发!锂电设备龙头董事长协助相关部门调查,不能履职
2月19日晚间,锂电设备龙头企业百利科技(603959.SH)发布公告称,公司于2024 年 2 月 18 日收到公司实际控制人、董事长、总裁王海荣先生家属通知,王海荣先生因个人原因需要协助相关部门调查,暂时不能正常履职。
图片来源:百利科技公告
同时发布的,还有《关于肖立明先生代行董事长、法定代表人职责及王立言先生代行总裁职责的公告》。
公告显示,由公司现任副董事长肖立明先生代为履行公司董事长、法定代表人职责及代为履行公司董事会相关委员会成员的职责,并由公司实际控制人之一、董事王立言先生代为履行公司总裁职责。
图片来源:百利科技公告
来自企查查更新于2021年9月4日的简介显示,王海荣1969年出生,中国国籍,拥有新加坡永久居留权,新加坡南洋理工大学硕士,在石油、石化能源行业拥有20多年的行业经验。
曾任中国石油天然气集团公司青海油田管理局项目经理,湖南百利工程科技有限公司董事长,武汉炼化工程设计有限责任公司董事,RHE nergy Ltd.执行主席、首席执行官。
现任湖南百利工程科技股份有限公司董事长兼总裁,西藏新海新创业投资有限公司执行董事,武汉炼化工程设计有限责任公司董事长、青岛蓝水量子科技发展有限公司董事长、IPG Holdings Ltd.董事,常州百利锂电智慧工厂有限公司董事等职务。
在百利科技,王海荣是法定代表人、实际控制人、受益所有人。其薪酬为131万元/年,最终受益股份26.82%。
王海荣有被执行人的标签。案号(2023)京01执1566号;被执行总金额 71,118.21 万元。
图片来源:企查查
王海荣有股权冻结的标签,具体如下:
图片来源:企查查
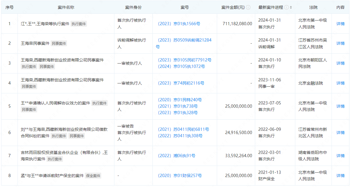
还涉及8个司法案件,具体如下:
图片来源:企查查
锂电材料整线龙头
资料显示,百利科技成立于1992 年,公司前身为巴陵石油化工设计院,2004 年改制为湖南百利工程科技有限公司,公司2016年5月在上交所上市。
在锂电领域,百利科技于2017年收购百利锂电,开始由传统化工EPC向锂电EPC及锂电设备赛道切换。
百利科技在锂电领域的客户包括当升科技、贝特瑞、杉杉股份、海创尚纬、广西时代汇能等锂电材料厂商。
2023年业绩预亏
1月31日,百利科技发布了2023年年度业绩预告,经财务部门初步测算,预计2023年度实现归属于母公司所有者的亏损8800万元到1.28亿元,与上年同期相比,将出现亏损;预计2023年度扣除非经常性损益后的亏损2.5亿元到2.9亿元。
而2023年前三季度,百利科技营业收入为14.88亿元,同比减少19.51%,归母净利润1432万,同比减少86.31%。
二级市场上,百利科技从2024年1月26日开始一轮暴跌,连续收出9根大阴线,其中包括连续5个跌停板。
按1月26日最高价9.21元、2月8日最低价4.10元计算,短短10个交易日,百利科技最大跌幅达到55.48%。
截至2月20日收盘,百利科技报4.97元/股,当前总市值为24.37亿元。
图片来源:同花顺
本文转载OFweek锂电网






