苹果新专利:燃料电池驱动iOS设备 解决续航问题
核心提示:中国电池网 3月18日消息,据国外媒体报道,苹果一项有关使用便携式燃料电池的专利在周二获得批准。该专利技术将有可能解决当前iOS设备续航时间不足的问题。
3月18日消息,据国外媒体报道,苹果一项有关使用便携式燃料电池的专利在周二获得批准。该专利技术将有可能解决当前iOS设备续航时间不足的问题。

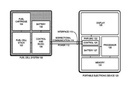
从上图看,苹果新专利在设计上包含了一个燃料电池堆,以负责将燃料转换为电能。燃料电池本身与计算设备之间通过一个接口(interface)进行连接。而连接线的两端会各自有一个控制器,以负责沟通当前所需电能。
苹果与广大消费电子品生产商一样,在设备电池续航问题上一直面临着巨大挑战。而燃料电池技术目前被认为是最有可能取代传统锂电池,成为驱动电子设备的新能源技术。
苹果新专利申请递交时间为2010年,专利发明者为BradleySpare、VijayIyer、JeanLee、MichaelHillman以及DavidSimon。
除了上述专利,苹果在2011年还递交了另一项与燃料电池相关的专利申请。不过该项专利目前仍处于审批阶段。
更多>同类锂电技术


