锂电工厂设备安全门引入非标扣合机构浅探
锂电工厂设备多,安全标准也非常高,一些精密或大型设备的安全门非标扣合机构结构复杂,生产成本高,不利于推广应用。为了解决现有技术中的问题,本文介绍了一种安全门的非标扣合机构,包括压合镶块、内板、外板、骨架件,压合镶块与所述内板相邻,外板与所述骨架件相连,压合镶块一端位于内板、骨架件之间。
1 设备优势
本文介绍一种非标扣合机构,非常适合用于安全标准高的锂电工厂使用。引入非标扣合机构的有益效果是:机构结构简单,生产成本低,利于推广应用于锂电企业及工厂。
2 设备结构
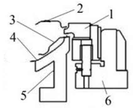
本介绍的非标扣合机构,是一种适合高安全标准的非标扣合机构,如图1所示,本非标扣合机构的结构示意图包括压合镶块1、内板2、外板4、骨架件3,所述压合镶块1与内板2相邻,外板4与骨架件3相连,压合镶块1一端位于内板2、骨架件3之间。
图1 结构示意图
3 设备实施方式
该非标扣合机构还包括能够移动的下模滑块6,压合镶块1装在下模滑块6上。
该非标扣合机构还包括扣合凹模5,外板4装在扣合凹模5上。
在所述下模滑块6上设有压合镶块安装座,压合镶块1固定在压合镶块安装座上。
压合镶块通过螺钉或销钉固定在压合镶块安装座上。
该非标扣合机构还包括下模座,下模滑块6通过盖板安装在下模座上,下模滑块与所述下模座这间通过导板进行导向,下模滑块6的后侧安装有回程限位块进行限位,下模滑块通过盖板安装在模具上。
4 设备工作原理
本非标扣合机构的工作原理为:
(1)该非标扣合机构还包括能够移动的下模滑块,压合镶块装在所述下模滑块上。
(2)该非标扣合机构还包括扣合凹模,外板装在所述扣合凹模上。
(3)在下模滑块上设有压合镶块安装座,压合镶块固定在所述压合镶块安装座上。
(4)压合镶块通过螺钉或销钉固定在压合镶块安装座上。
(5)该非标扣合机构还包括下模座,下模滑块通过盖板安装在所述下模座上,下模滑块与下模座这间通过导板进行导向,下模滑块的后侧安装有回程限位块进行限位,下模滑块通过盖板安装在模具上。
5 结论
(1)本文介绍了一种非标扣合机构针对高标准的大型或精密设备配套使用,包括压合镶块、内板、外板、骨架件,所述压合镶块与内板相邻,外板与骨架件相连,压合镶块一端位于内板、骨架件之间。
(2)本文介绍的一种非标扣合机构,非常适合用于安全标准高的锂电工厂使用,具有机构结构简单,生产成本低,利于推广应用等诸多优点,适合于在锂电企业推广。
[基金项目] 本文获广西科学研究与技术开发计划课题(合同编号:桂科能15122O01-2-8)、2016年广西中青年教师基础能力提升项目(KY2016Y640),2016年柳州市科学研究与技术开发计划课题(2016A04x007及2016B08x002)等资助。
[作者简介] 韦永乐(1986-),男,壮族,广西融安,机械设计制造及其自动化专业,助理工程师,主要从事机械工艺设计等研究工作。
[通讯作者] 吴国勇(1967-),男,壮族,广西柳州人,高级工程师,主要从事高分子材料和可再生资源高值化处理技术研究,1936307477@qq.com。
(韦永乐1 邓宁2 吴国勇3 陈璟4 周金卿5,6,7)
(1 柳州裕信方盛汽车饰件有限公司,广西 柳州 545006; 2 柳州城市职业学院 机电与汽车工程系,广西 柳州 545036;3 广西科技师范学院化学与生命科学系,广西 来宾 546100; 4 柳州职业技术学院 机电工程系,广西柳州 545005;5 柳州市豪杰特化工机械有限责任公司技术中心,广西 柳州 545005; 6 柳州蓓蒂芬科技有限公司技术中心,广西 柳州 545000)


