新能源汽车内饰件安装板注塑模具浅探
新能源汽车的研发目的是节能环保,因此车身轻量化也是研发重点之一。为了使车身轻量化,则新能源汽车的内饰件应尽可能采用塑料制件代替。本文介绍了一种安装板注射模具,包括定模座板5、定模板7、动模板9、复位杆11、推板13、推板固定板14,所述定模座板5、定模板7、动模板9依次排列,推板13安装在推板固定板14上,复位杆11一端与推板固定板14相连,所述复位杆11另一端与所述定模板)相连。有益效果是:本文介绍的安装板注射模具结构简单,生产成本低,利于推广应用。
1 设备优势
目前的安装板注射模具结构复杂,生产成本高,不利于推广应用,本文介绍的安装板注射模具,结构简单,生产成本低,利于在新能源汽车内饰件领域推广应用。
2 设备结构
为了解决现有技术中的问题,本文提供了一种安装板注射模具,包括定模座板、定模板、动模板、复位杆、推板、推板固定板,所述定模座板、定模板、动模板依次排列,推板安装在推板固定板上,复位杆一端与推板固定板相连,所述复位杆另一端与定模板相连。
作为本文介绍的模具的进一步改进,该安装板注射模具还包括推件板,所述推件板一端与推板相连,推件板另一端与定模座板相连。
作为本文介绍的模具的进一步改进,该安装板注射模具还包括推板导柱、推板导套,所述推板导套位于推板和内,推板导柱位于推板导套内。
作为本文介绍的模具的进一步改进,该安装板注射模具还包括第一内,所述推板和推板固定板通过所述内六角螺钉进行固定。
作为本文介绍的模具的进一步改进该安装板注射模具还包括动模,所述动模安装在动模板上。
作为本文介绍的模具的进一步改进,所述定位模板上设有浇口套、定位圈,该安装板注射模具还包括拉料杆,所述定位圈套于浇口套外表面,所述定模板设有定模型腔,拉料杆一端位于浇口套内,所述拉料杆另一端位于定模型腔内。
作为本文介绍的模具的进一步改进,该安装板注射模具还包括第二内六角螺钉,所述定位圈和定位模板通过内六角螺钉固定。
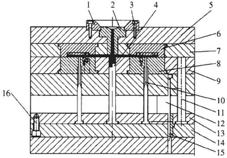
图1 结构示意图
3 设备实施方式
如图1所示,本文介绍了一种安装板注射模具,包括定模座板5、定模板7、动模板9、复位杆11、推板13、推板固定板14,所述定模座板5、定模板7、动模板9依次排列,推板13按装在推板固定板14上,复位杆11一端与推板固定板14相连,所述复位杆11另一端与定模板7相连。
该安装板注射模具还包括推件板10,所述推件板10一端与推板13相连,所述推件板10另一端与定模座板5相连。
该安装板注射模具还包括推板导柱12、推板导套15,所述推板导套15位于推板13和14内,推板导柱12位于推板导套15内。
该安装板注射模具还包括第一内六角螺钉16,所述推板13和推板固定板14通过内六角螺钉16进行固定。
该安装板注射模具还包括动模8,所述动模8安装在动模板9上。
所述定位模板5上设有浇口套2、定位圈1,该安装板注射模具还包括拉料杆4,定位圈1套于所述浇口套2外表面,定模板7设有定模型腔6,拉料杆4一端位于所述浇口套2内,所述拉料杆另一端位于定模型腔6内。
该安装板注射模具还包括第二内六角螺钉3,所述定位圈1和定位模板5通过内六角螺钉3固定。
有益效果是:本文介绍的模具的安装板注射模具结构简单,生产成本低,利于推广应用。
以上内容是结合具体的优选实施方式对本实用新型所作的进一步详细说明,不能认定本实用新型的具体实施只局限于这些说明。对于本实用新型所属技术领域的普通技术人员来说,在不脱离本实用新型构思的前提下,还可以做出若干简单推演或替换,都应当视为属于本实用新型的保护范围。
4 权利要求介绍
一种安装板注射模具,其特征在于:包括定模座板5、定模板7、动模板9、复位杆11、推板13、推板固定板14,所述定模座板5、定模板7、动模板9、依次排列,推板13安装在推板固定板14上,复位杆11一端与推板固定板14相连,所述复位杆11另一端与所述定模板7相连。
根据权利要求1所述的安装板注射模具,其特征在于:该安装板注射模具还包括推件板10,所述推件板10一端与推板13相连,所述推件板10另一端与定模座板5相连。
根据权利要求1所述的安装板注射模具,其特征在于:该安装板注射模具还包括推板导柱12、推板导套15,所述推板导套15位于推板13和14内,推板导柱12位于推板导套15内。
根据权利要求1所述的安装板注射模具,其特征在于:该安装板注射模具还包括第一内六角螺钉16,所述推板13和推板固定板14通过内六角螺钉16进行固定。
根据权利要求1所述的安装板注射模具,其特征在于:该安装板注射模具还包括动模8,所述动模8安装在动模板9上。
根据权利要求5所述的安装板注射模具,其特征在于:所述定位模板5上设有浇口套2、定位圈1,该安装板注射模具还包括拉料杆4,所述定位圈1套于浇口套2外表面,所述定模板7设有定模型腔6,所述拉料杆4一端位于浇口套2内,所述拉料杆4另一端位于定模型腔6内。
根据权利要求6所述的安装板注射模具,其特征在于:该安装板注射模具还包括第二内六角螺钉3,所述定位圈1和定位模板5通过内六角螺钉3固定。
5 结论
(1)文介绍了一种安装板注射模具,包括定模座板5、定模板7、动模板9、复位杆11、推板13、推板固定板14,所述定模座板5、定模板7、动模板9依次排列,推板13安装在推板固定板14上,复位杆11一端与推板固定板14相连,所述复位杆11另一端与定模板7相连。
(2)有益效果是:本文介绍的安装板注射模具结构简单,生产成本低,利于推广应用。
[基金项目]本文获广西科学研究与技术开发计划课题(合同编号:桂科能15122O01-2-8)、2016年广西中青年教师基础能力提升项目(KY2016Y640),2016年柳州市科学研究与技术开发计划课题(2016A04x007及2016B08x002),广西教改项目“基于区域性汽车技术加强专业建设的研究与实践”编号[2014JGZ183]的阶段性研究成果等资助。
[作者简介] 阮李华(1989-),男,汉族,广西柳州,材料成型及控制工程专业,助理工程师,主要从事注塑模开发和模流分析工作。
[通讯作者] 陈璟(1984—),女,汉族,广西柳州人,材料加工工程专业硕士,讲师,主要从事流体分析CFD、模具优化设计等研究,1936307477@qq.com。
(阮李华1 邓宁2 吴国勇3 陈璟4 周金卿5,6)
(1. 柳州裕信方盛汽车饰件有限公司 广西 柳州 545006;)
(2 柳州城市职业学院 机电与汽车工程系 广西 柳州 545036;)
(3 广西科技师范学院化学与生命科学系 广西 来宾 546100;)
(4 柳州职业技术学院 机电工程系 广西柳州 545005;)
(5 柳州市豪杰特化工机械有限责任公司技术中心 广西 柳州 545005;)
(6柳州蓓蒂芬科技有限公司技术中心,广西 柳州 545000)


