锂电工厂中应用电柜水冷却散热装置
锂电工厂中应用电柜水冷却散热装置
邓斌1,邓宁2,吴国勇3,陈璟4,周金卿1,5
1 柳州市豪杰特化工机械有限责任公司 技术中心,广西 柳州 545005;
2 柳州城市职业学院 机电与汽车工程系,广西 柳州 545036;
3 广西科技师范学院食品与生化工程学院,广西 来宾 546100;
4 柳州职业技术学院 机电工程学院,广西 柳州 545005;
5 柳州蓓蒂芬科技有限公司技术中心,广西 柳州 545000
摘要:锂电工厂设备多,安全标准也非常高,电池加工需要使用冷却散热装置,本文介绍了一种电柜水冷却散热装置,包括水箱、循环水泵、外部水冷却热交换排组、外散热风机、内部水冷却热交换排组和内吸热风机,水箱、循环水泵、外部水冷却热交换排组和外散热风机安装在电柜外部,外部水冷却热交换排组位于外散热风机与电柜之间,内部水冷却热交换排组和内吸热风机安装在电柜内部,内部水冷却热交换排组位于内吸热风机与电柜之间,水箱与内部水冷却热交换排组连通,内、外部水冷却热交换排组连通,外部水冷却热交换排组与循环水泵连通,循环水泵与水箱连通。本水冷装置可以避免电控柜内风冷方式带来的粉尘问题,也可以有效降低电柜温度,并且制作及使用成本低廉,拆装方便,能长期在恶劣环境中稳定工作。
0 前言
在化工、电子浆料、涂料、胶粘剂、化妆品、润滑脂、制药、食品等众多行业生产中,物料混合设备的驱动方式主要是以电控柜、配电箱、操作台为主,其中应用最广的就是电控柜——控制化工搅拌机,通过柜内放置的变频器来驱动设备电机转动;缺点:行业内车间工作环境普遍比较恶劣,粉尘颗粒度很小,且具有导电性及腐蚀性,灰尘、污垢或其他腐蚀性物质等易进入变频器内,影响变频器的冷却通风,同时干扰变频器内整流桥和IGBT等电元件的正常工作,损坏变频器。由于工作时间长,一般20小时/天以上运行时间,变频器在温度过高的环境中工作会严重影响变频器寿命,重则炸机(发生爆炸)。近年来,随着超细级及纳米级物料的推广应用,常规控制柜使用风扇散热,但柜子内外进行热交换的过程中会将柜外的粉尘带入柜内,导致整个柜体的密闭性无法很好的保证,难以适应客户需求,而若运用正压隔爆式或柜内空调散热,无论制作成本还是使用成本又相当之高。因此,急需要解决的技术问题是:提供一种能够克服电柜温度高、风冷密闭性差及成本高的电柜水冷却散热装置,本水冷装置可以避免电控柜内风冷方式带来的粉尘问题,也可以有效降低电柜温度,并且制作及使用成本低廉,拆装方便,能长期在恶劣环境中稳定工作。
1 设备优势
本装置涉及一种电柜水冷却散热装置,包括水箱、循环水泵、外部水冷却热交换排组、外散热风机、内部水冷却热交换排组和内吸热风机,水箱、循环水泵、外部水冷却热交换排组和外散热风机安装在电柜外部,外部水冷却热交换排组位于外散热风机与电柜之间,内部水冷却热交换排组和内吸热风机安装在电柜内部,内部水冷却热交换排组位于内吸热风机与电柜之间,水箱与内部水冷却热交换排组连通,内、外部水冷却热交换排组连通,外部水冷却热交换排组与循环水泵连通,循环水泵与水箱连通。本水冷装置可以避免电控柜内风冷方式带来的粉尘问题,也可以有效降低电柜温度,并且制作及使用成本低廉,拆装方便,能长期在恶劣环境中稳定工作。
2 设备结构
本电柜水冷却散热装置,包括外部水冷却热交换排组、外散热风机、内部水冷却热交换排组和内吸热风机,所述的外部水冷却热交换排组和外散热风机安装在电柜外部并固定在电柜上,所述的外部水冷却热交换排组位于外散热风机与电柜之间,所述的内部水冷却热交换排组和内吸热风机安装在电柜内部并固定在电柜上,所述的内部水冷却热交换排组位于内吸热风机与电柜之间。
该电柜水冷却散热装置还包括有水箱和循环水泵,所述的水箱与内部水冷却热交换排组连通,内部水冷却热交换排组与外部水冷却热交换排组连通,外部水冷却热交换排组与循环水泵连通,循环水泵与水箱连通,所述的水箱和循环水泵安装在电柜外部并固定在电柜上。
所述的外部水冷却热交换排组和内部水冷却热交换排组是由1-5组水冷散热装置构成,所述的1组水冷散热装置是由1-8根U型管连通构成,所述的外部水冷却热交换排组和内部水冷却热交换排组安装在电柜顶部或电柜侧壁。
所述的水冷散热装置是采用翅片铜管构成。
所述的外散热风机和内吸热风机是由1-8个散热风扇构成。
所述的内部水冷却热交换排组和内吸热风机通过安装板Ⅰ安装在电柜内部,即内部水冷却热交换排组和内吸热风机固定在安装板Ⅰ上,安装板Ⅰ固定在电柜上。
所述的外部水冷却热交换排组和外散热风机通过安装板Ⅱ安装在电柜外部,即外部水冷却热交换排组和外散热风机固定在安装板Ⅱ上,安装板Ⅱ固定在电柜上。
由于采用上述技术方案,本水冷装置具有以下有益效果:
(1)本水冷装置对电柜内冷却效果优于风扇冷却。本水冷装置同时设置有内部和外部散热装置和风机,采用的一组或多组水冷散热装置可以安装在电柜顶部或左右侧面,位置固定,通过水循环泵拖动内外冷却水循环,以及风扇转动带动气流,使得冷却系统内外热交换效率进一步提高。
(2)本发明成本及能耗均低于正压隔爆式或柜内空调散热。
(3)解决纳米级粉尘从滤网之间进入电柜内部,导致电器元件损坏问题。
(4)结构简单,装拆、清洗、维护方便。
(5)密封性好,可恶劣工况条件下工作。
下面,结合附图和实施例对本水冷装置之电柜水冷却散热装置的技术特征作进一步的说明。
3 附图说明
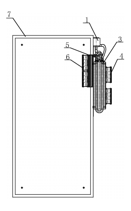
图1—图2:安装有本水冷装置电柜水冷却散热装置的电柜结构示意图。
图1:主视图,图2:左视图。
图3—图4:本水冷装置之电柜水冷却散热装置结构示意图。
图3:左视图,图4:主视图。
图中:1-水箱,2-循环水泵,3-外部水冷却热交换排组,4-外散热风机,5-内部水冷却热交换排组,6-内吸热风机,7-电柜。
4 设备实施方式
实施例1:一种电柜水冷却散热装置,如图1-图4所示,包括水箱1、循环水泵2、外部水冷却热交换排组3、外散热风机4、内部水冷却热交换排组5和内吸热风机6,所述的水箱1、循环水泵2、外部水冷却热交换排组3和外散热风机4安装在电柜外部并固定在电柜上,所述的外部水冷却热交换排组位于外散热风机与电柜之间,所述的内部水冷却热交换排组和内吸热风机安装在电柜内部并固定在电柜上,所述的内部水冷却热交换排组位于内吸热风机与电柜之间。所述的水箱1与内部水冷却热交换排组5连通,内部水冷却热交换排组与外部水冷却热交换排组3连通,外部水冷却热交换排组与循环水泵2连通,循环水泵与水箱1通过管道连通。
所述的外部水冷却热交换排组3和内部水冷却热交换排组5是由1-5组水冷散热装置构成,所述的1组水冷散热装置是由1-8根U型翅片管连通构成,所述的外部水冷却热交换排组3和内部水冷却热交换排组5安装在电柜顶部或电柜侧壁。内外部水冷却热交换排组的厚度可根据散热需要加厚。
所述的外散热风机4和内吸热风机6是由1-8个散热风扇构成。
本水冷装置同时存在内部吸热装置(包括内部水冷却热交换排组5和内吸热风机6)与外部散热装置(包括外部水冷却热交换排组3和外散热风机4),对柜内变频器产生热量与外部空气进行热交换。该两种装置可以同时或分别独立工作,内部吸热装置独立工作时,可外接工厂管道冷却水。
本水冷装置可独立安装在安装板上,成套配入电柜侧壁或顶部安装,可采用以下方式安装:所述的内部水冷却热交换排组和内吸热风机通过安装板Ⅰ(图中未画出)安装在电柜内部,即先将内部水冷却热交换排组和内吸热风机固定在安装板Ⅰ上,再将安装板Ⅰ固定在电柜上。所述的外部水冷却热交换排组和外散热风机通过安装板Ⅱ(图中未画出)安装在电柜外部,即先将外部水冷却热交换排组和外散热风机固定在安装板Ⅱ上,再将安装板Ⅱ固定在电柜上。本水冷装置也可单独在电柜上开管线孔安装固定。
控制柜及本水冷装置各主要部件功能如下:
(1)控制柜:对柜内与柜外的粉尘进行隔绝,且是水冷散热装置安装的基础部件。
(2)内吸热风机:气流控制器件。将柜内变频器散发出的热量进一步集中到水冷排翅片上,使得热传导效率更高,并带动柜内气流流动,让柜内温度更为均衡。
(3)水冷却热交换排组:是热交换介质-冷却水的容器及热传导器。内部排组将风扇带来的柜内热量有效的吸收并传导到导管内的冷却水中,而后外部的排组将水中的热量吸收并因为内外温差(水与空气),将热量排放到空气中去。
(4)循环水泵:串连到水冷排组管道连接件中,向管道内冷却水提供动力,使得冷却水可以在水冷排组内部循环。
(5)外散热风机:气流控制器件。增强水冷排翅片间的气流流动性,使外部水冷排与空气的热交换性能更好。
(6)水箱:存储部分冷却水,放置在整个散热系统最高点,防止水泵出现吸空现象。
本水冷装置的运行过程如下:设备运行时,通过循环水泵将冷却水从水箱中抽取传送到水冷却热交换排组(柜内部分)的管道中,而水冷却热交换排组(柜内部分)上的内吸热风机将变频器散发出来的热量吸入水冷却热交换排组(柜内部分)上,通过水冷却热交换排组(柜内部分)上的翅片和铜管与冷却水进行热量交换。此时水冷却热交换排组(柜内部分)管道内的水温上升,后经过水泵提供动力,将温度上升的冷却水带出配电柜,后经水冷却热交换排组(柜外部分),冷却水中热量传递到水冷却热交换排组(柜外部分)翅片与铜管上,外散热风机将热量带走散发到空气中,冷却后的冷却水留回水箱。
本发明的散热装置还可以将冷却水更换为油或其它介质。
5 总结
在锂电工厂中,电池加工需要使用冷却散热装置,本文介绍了一种电柜水冷却散热装置,包括水箱、循环水泵、外部水冷却热交换排组、外散热风机、内部水冷却热交换排组和内吸热风机,水箱、循环水泵、外部水冷却热交换排组和外散热风机安装在电柜外部,外部水冷却热交换排组位于外散热风机与电柜之间,内部水冷却热交换排组和内吸热风机安装在电柜内部,内部水冷却热交换排组位于内吸热风机与电柜之间,水箱与内部水冷却热交换排组连通,内、外部水冷却热交换排组连通,外部水冷却热交换排组与循环水泵连通,循环水泵与水箱连通。本水冷装置可以避免电控柜内风冷方式带来的粉尘问题,也可以有效降低电柜温度,并且制作及使用成本低廉,拆装方便,能长期在恶劣环境中稳定工作。
参考文献
[1]邓斌等,柳州市豪杰特化工机械有限责任公司.电柜水冷却散热装置:中国. 201320796704.5[P].
[基金项目]本文获2016年广西科技计划(合同编号:桂科AC16380013,氧化石墨烯的清洁制备工艺研究及在汽车塑料应用性能评价)、2015年广西高校科研项目(KY2015YB399,物联网中数据融合和安全问题关键技术研究)的资助。
[作者简介]邓斌(1988-),男,汉族,广西柳州人,机电一体化专业,助理工程师,主要从事电气液压设计。
[通讯作者]陈璟(1984—),女,汉族,广西柳州人,材料加工工程专业硕士,讲师,主要从事流体分析CFD、模具优化设计等研究,1936307477@qq.com。


